Tesla запатентовала свою безумную идею — использовать лазеры вместо дворников — Hi-News.ru

Илон Маск славится своими невероятными идеями, которым позавидовали бы писатели-фантасты. Только в отличие от них, Маск свои изобретения старается воплотить в жизнь при помощи своих компанией, которыми руководит. Некоторые идеи действительно удается реализовать, другие так и остаются просто безумными задумками, которые ждут своего часа. Из-за них Маска недоброжелатели называют безумцем или даже шарлатаном. Очередные его задумки уже не удивляют как раньше, а лишь заставляют с интересном наблюдать чем окончится очередной граничащий с фантастикой проект. На днях Tesla смогла получить патент на очередную такую идею — использование лазеров для очистки транспортных средств от грязи. В первую очередь задумка рассчитана на использование в качестве дворников, которые позволяют очищать лобовое стекло автомобиля лазерными импульсными лучами. Правда, впервые об этой технологии речь пошла еще в 2019 году, когда компания подала заявку на патент. И вот теперь патент был одобрен.

Tesla получила патент на лазерные дворники

Зачем Tesla хочет использовать лазерные дворники

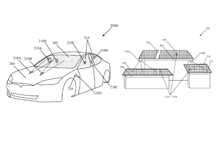
Патент имеет название: «Импульсная лазерная очистка от мусора, скопившегося на стеклянных изделиях транспортных средств и фотоэлектрических агрегатах». В нем описывается устройство, которое содержит систему обнаружения грязи и мусора, а также излучатель, который способен улавливать частицы импульсными лазерными лучами. В то же время мощность лазеров недостаточно сильная, чтобы повредить поверхность автомобиля или причинить какой-либо вред.

В патенте также приводятся схема системы обнаружения мусора, а также схема управления. Последняя отвечает за автоматическую калибровку основных параметров, связанных с работой лазерного луча. Его образует специальная оптическая установка. Разработчик поясняет, что система может быть полезна для автоматического удаления любого мусора, мешающего обзору камер автопилота вокруг автомобиля. На патентных чертежах она отображена в качестве дворников.

Система импульсной лазерной очистки изображена на патентных чертежах в виде дворников

Надо сказать, что у прототипа Cybertruck не было стеклоочистителя. Поэтому, когда Tesla подала заявку на патент, некоторые предположили, что установка создается в качестве дворников под этот проект. Однако, в патенте нигде нет упоминания того, что разработка будет использоваться для очистки стекла от капель дождя. Отсюда можно сделать вывод, что она не заменит традиционные стеклоочистители, а будет работать в качестве дополнения к ним.

О том, что лазерная установка не заменит собой обычные механические очистители стекол говорит и тот факт, что Tesla разрабатывает новые электромагнитные дворники. Они хоть и выглядят весьма футуристично, но гораздо более реалистичны, чем импульсные лазерные лучи.

Учитывая название патента, Tesla предусматривает возможность очистки импульсным лазером солнечных панелей от мусора на крыше. Логично предположить, что установку можно будет использовать для очистки и других покрытий кровли.

Когда в автомобилях Tesla появился импульсный лазер для очистки стекла

Сам факт регистрации патента еще не говорит о том, что лазерные дворники когда-либо будут реализованы, по крайней мере, в серийных автомобилях. Как было сказано выше, многие патенты так и остаются только на бумаге.

На сегодняшний день ни лазеры, ни электромагнитные дворники не были продемонстрированы ни на одной из моделей Tesla, в том числе их не показали на прототипах. Вполне возможно, что такая же участь ждет и установку с импульсным лазером. Тем не менее, компания сочла нужным защитить технологию патентом. В пользу того, что импульсный лазер является рабочим проектом говорит тот факт, что прототип Cybertruck не оснащен какими-либо видимыми механическими дворниками. А значит стеклоочистители находятся в процессе разработки. Напомню, что к самому Cybertruck отношение весьма неоднозначные даже у фанатов Tesla. Вполне возможно, что пикап ожидает провал, и никакие иновационные дворники его не спасут.

Прототип Cybertruck представлен без стеклоочистителей, так как они, возможно, еще разрабатываются

Интересно, что Илон Маск называл автомобили Tesla «роботами» из-за их функции автопилота. Если проект удастся реализовать, то это будут роботы еще и с лазерной установкой. Напоследок напомню, что Tesla собирается выпускать настоящих роботов-гуманоидов, которые должны стать помощниками людям в решении различных бытовых и других задач.

Источник: Новости высоких технологий



Самые актуальные новости - в Telegram-канале

Читайте также

Вверх